索尼“最扯”专利,大喊广告名来跳过广告
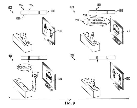
近日,外媒发现了索尼了一份非常”无厘头”的专利,该专利详述了一名用户在遭遇广告时,如果想要跳过该广告,可以喊出品牌名称来跳过个广告。

例如专利中举的例子:麦当劳,玩家可以大喊“巨无霸汉堡”来跳过广告。基于该项专利的交互性和可操作性,玩家或许可以在玩游戏时订购产品,只需换一个喊出的内容,例如:“我要巨无霸汉堡”。不过,专利仅仅只是专利,大部分都未曾真正实现。


以上是 索尼“最扯”专利,大喊广告名来跳过广告 的全部内容,来自【游乐园】,转载请标明出处!
近日,外媒发现了索尼了一份非常”无厘头”的专利,该专利详述了一名用户在遭遇广告时,如果想要跳过该广告,可以喊出品牌名称来跳过个广告。

例如专利中举的例子:麦当劳,玩家可以大喊“巨无霸汉堡”来跳过广告。基于该项专利的交互性和可操作性,玩家或许可以在玩游戏时订购产品,只需换一个喊出的内容,例如:“我要巨无霸汉堡”。不过,专利仅仅只是专利,大部分都未曾真正实现。


以上是 索尼“最扯”专利,大喊广告名来跳过广告 的全部内容,来自【游乐园】,转载请标明出处!